服务热线:
19505256258
Welcome To
Yangzhou Xinhongnuo Environmental Protection Technology Co.,Ltd.
在线咨询
网站首页
关于我们
产品中心
新闻资讯
案例展示
联系我们
扬州鑫弘诺环保科技有限公司
Yangzhou Xinhongnuo Environmental Protection Technology Co.,Ltd.
产品搜索:
空气流量指示器
丨
气体检测
丨
调流平衡阀
丨
接头
丨
防振
产品
文章
搜索
网站首页
>>
不锈钢接头
>>
JBF热水系列波纹管补偿器
空气流量指示器
气体检测
调流平衡阀
接头
防振
阀门
其他
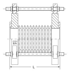
JBF热水系列波纹管补偿器
STAINLESS STEEL EXPANSION JOINT
波纹管系列
FEATURE 特征
Application
Water, Hot Water, Steam, Oil
Max.Working Temperature : 350℃
Max.Working Pressure : 1.6 [MPa]
介质
冷水 / 热水 / 水蒸气 / 重油
最大工作温度 : 350 。 C
最大工作压力 : 1.6 [MPa]
MATERIALS 材质表
Part 部件
Material 材质
Flange 法兰
Carbon Steel 碳钢
Bellow 波纹管
Stainless Steel 不锈钢
Shipping Rod 出货用固定螺栓(※)
Carbon Steel 碳钢
(※)出货用固定螺栓:产品出货以及安装时调整固定用。因此,产品在安装完成后请立刻拆除。
DIMENSIONS 口径尺寸
Nominal Diameter 公称直径
Overall Length 长度
[mm]
Allowable Axial Movement
轴向允许位移
[mm]
[inch]
20
3/4
150
±15
25
1
150
±15
32
1-1/4
150
±15
40
1-1/2
150
±15
50
2
160
±15
65
2-1/2
180
±20
80
3
180
±20
100
4
200
±20
125
5
200
±20
150
6
200
±20
200
8
250
±20
250
10
250
±20
300
12
250
±20
350
14
300
±20
400
16
300
±20
450
18
320
±20
500
20
330
±20
600
24
350
±20
Note:
1. Other specifcations are also available, please consult with us.
2. Design and specifcations are subject to change without prior notice.
备注 :
1. 如有其他规格要求,请咨询。
2. 设计和规格如有修改,恕不另行事先通知。